auteur:Éditeur du site publier Temps: 2024-02-21 origine:Propulsé

L'effet des seaux : la quantité d'eau qu'un seau peut contenir dépend de sa portée la plus courte.
Dans le domaine des batteries, l’effet Buckets est observé : les performances d’une batterie dépendent de la cellule ayant la tension la plus basse. Lorsque l'équilibrage de tension est mauvais, il se produit un phénomène selon lequel la batterie est complètement chargée après une courte période de charge.
Approche traditionnelle :
Inspection périodique manuelle pour identifier les batteries à basse tension et charger individuellement les batteries à basse tension.
Approche intelligente :
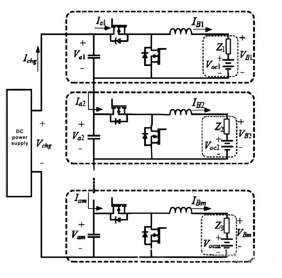
BMS (Battery Management System) est équipé d'une fonction d'équilibrage automatique qui peut équilibrer automatiquement la tension pendant la charge et la décharge.
L'équilibrage automatique comprend l'équilibrage actif et passif.
L’équilibrage actif comprend l’équilibrage basé sur la charge et celui basé sur le transfert d’énergie.
L'équilibrage est effectué au moyen d'un transfert d'énergie sans perte, c'est-à-dire que l'énergie est transférée des cellules avec une tension plus élevée vers celles avec une tension plus basse, obtenant ainsi un équilibre de tension global avec une perte d'énergie minimale ; c’est pourquoi on l’appelle également équilibrage sans perte.
Avantages : Perte d'énergie minimale, rendement élevé, longue durée, courant élevé, effet rapide.
Inconvénients : Circuits complexes, coût élevé.

Il y a un module d'alimentation DC/DC dans chaque capteur de cellule de surveillance. Pendant la charge flottante, le module charge la cellule avec la tension la plus basse pour augmenter sa charge jusqu'à atteindre l'équilibre de tension défini.
Avantages : Chargement ciblé pour les cellules sous-chargées ou moins performantes.
Inconvénients : Coût élevé en raison de la nécessité de modules d'alimentation DC/DC, risque de surcharge (possible en cas d'erreur de jugement), coût de maintenance élevé en raison de points de défaillance potentiels.

L'équilibrage passif implique généralement de décharger des cellules à tension plus élevée à travers des résistances, libérant de l'énergie sous forme de chaleur pour atteindre un équilibre de tension global, permettant ainsi à d'autres cellules de charger plus longtemps pendant le processus de charge.
Avantages : Faible courant de décharge, technologie fiable, rentable.
Inconvénients : Temps de décharge court, effet lent.

En résumé, le BMS actuel pour les batteries au plomb adopte principalement un équilibrage passif. À l’avenir, Dfun introduira un équilibrage hybride, qui équilibrera les cellules haute tension via la décharge et les cellules basse tension via la charge.